Diodes Incorporated AP2303 DDR LDO Regulator
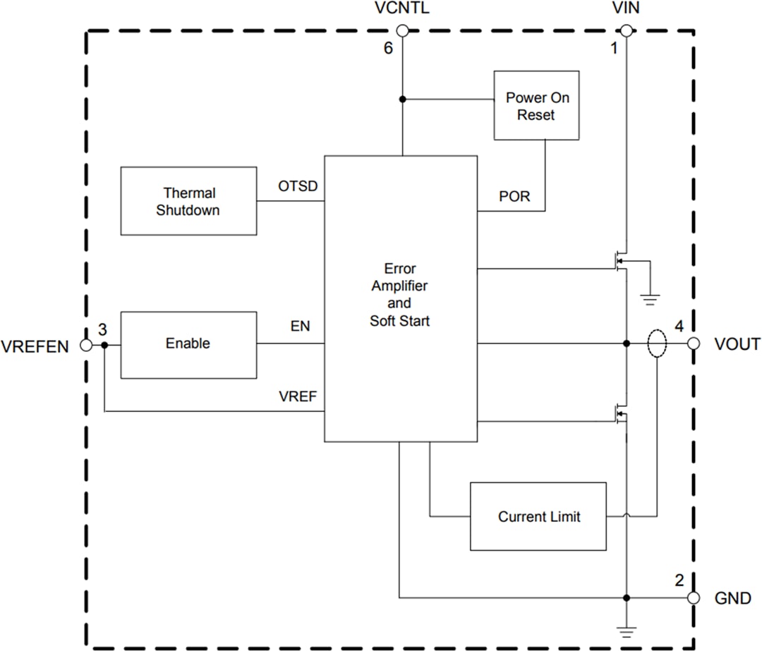
Diodes Incorporated AP2303 DDR LDO Regulator is a low dropout linear regulators to generate termination voltage of DDR-SDRAM systems. The regulator can source or sink up to 1.75A current continuously. The output voltage is regulated to track tightly with the reference voltage (1/2VDDQ) within ±10mV. The AP2303 supports soft start-up when used to turn on the VCNTL and VREFEN. It integrates a shutdown circuit that will be triggered once the voltage of VIN, VCNTL or VREFEN falls below a certain value. The AP2303 features over temperature protection and current limit protection for both source and sink. AP2303 is available in packages of SOIC-8 and PSOP-8.Features
- Support DDR-II (VTT =0.9V), DDR-III (VTT =0.75V), DDR-IIIL (VTT =0.675V), DDR-IV (VTT =0.6V) application
- Source and sink up to 1.75A current
- ±2% (Max.) Output voltage accuracy over full load
- Soft start - up and shutdown along with VIN , VCNTL and VREFEN rising and shutdown along with VIN , VCNTL and VREFEN dropping
- Flexible output by 2 external resistors
- Requires minimum 10μF output ceramic capacitor for application
- Current limit protection for both source and sink
- OTSD Protection
- Totally lead - free and fully RoHS compliant
- Halo gen and antimony free. "Green" device
Features
- DDR-II/DDR-III/DDR-IIIL/DDR-IV Memory system
- Desktop PC, notebook mother board
- Graphic card
- STB, LCD-TV, web-TV
Block Diagram
Typical Application Circuit
Published: 2015-01-06
| Updated: 2022-03-11
